一、产品[气动薄膜衬四氟单座调节阀]的详细资料:
产品型号:ZJHP-16F46
产品名称:气动薄膜衬四氟单座调节阀
产品特点:凯斯特ZMJBP-16F46P气动薄膜衬四氟单座调节阀,是自控仪表中的执行单元。它由气动薄膜执行机构和直通单座衬氟塑阀两部份组成。由于该阀接触介质的部位均采用高压注塑工艺,衬有能耐腐蚀、耐老化的聚全氟乙丙烯(简称F46),又采用聚四氟乙烯波纹管密封,因而该阀广泛适用于化工、石油、冶金、医药、电力等行业中对酸、碱强腐蚀介质和有毒、易挥发等气体、液体介质的过程控制。
二、产品特点:
1.耐腐蚀:阀体内腔、阀芯、阀座、阀杆均316不锈钢,能耐酸、碱,耐强腐蚀。
2.密封性能好:采用聚四乙烯材质的波纹管和填料双重密封,确保无渗漏。
3.泄漏量小:由于阀芯、阀座是软密封,故泄漏量低于国家IV级标准。
4.采用轻小型多弹簧执行机构,体积小,重量轻,调节精度高。
三、零件材料:
阀体、阀盖:HT200,ZG230-450,ZG1Cr18Ni9Ti
阀芯、阀座:1Cr18Ni9Ti,司太莱合金堆焊
软密封阀芯:增强聚四氟乙烯
波纹管:1Cr18Ni9Ti 聚四氟乙烯波纹管
填片:橡胶石棉板、10’’、 1Cr18Ni9Ti石棉缠绕垫片
膜盖:A3
波纹膜片:丁晴橡胶夹增强涤纶织物
弹簧:30SIMN
阀杆、推杆:2Cr13、1Cr18Ni9Ti
衬套:2Cr13
四、技术参数:
性能指标:(表一)
|
项目 |
性能指标 |
|
基本误差% |
≤±8 |
|
回差% |
≤8 |
|
死区% |
≤6 |
|
额定流量系数误差 |
≤±10%(Kv≤5时±15%) |
|
泄漏量 |
≤0.01%阀额定容量 |
五、技术参数:(表二)
|
公称通径DN(mm) |
G3/4’’ |
20 |
25 |
32 |
40 |
50 |
65 |
80 |
100 |
150 |
|||||||||||||
|
阀座直径DN(mm) |
3 |
4 |
5 |
6 |
7 |
8 |
10 |
12 |
15 |
20 |
26 |
32 |
40 |
50 |
65 |
80 |
100 |
150 |
|||||
|
额定流量系数KV |
0.08 |
1.12 |
0.20 |
.032 |
0.50 |
0.80 |
1.2 |
2 |
3.2 |
5 |
8 |
12 |
20 |
32 |
50 |
70 |
100 |
240 |
|||||
|
流量特性 |
直线 |
直线\等百分比 |
|||||||||||||||||||||
|
公称压力PN(Mpa) |
1.01.6 |
||||||||||||||||||||||
|
配用执行机构 |
型号 |
ZHA-22 |
ZHA-23 |
ZHA-34 |
ZHA-45 |
||||||||||||||||||
|
有效面积cm |
200 |
280 |
400 |
630 |
1000 |
||||||||||||||||||
|
工作行程mm |
10 |
10 |
16 |
25 |
40 |
60 |
|||||||||||||||||
|
弹簧范围KPa |
20-10040-200 |
||||||||||||||||||||||
|
作用方式 |
气关式或气开式 |
||||||||||||||||||||||
|
工作温度 |
-30~200℃ |
||||||||||||||||||||||
|
固有可调比R |
30:1 |
||||||||||||||||||||||
六、调节阀的允许压差:(见表三)
标准组配的气动单座阀,其气动薄膜执行机构的输出力是一定的。为实现理想的调节和关闭,阀门的压差必须限制在一定数值内,本产品应按表3选用。当压差超过允许值时,可调整弹簧预紧力,配用阀门定位器或选用其它执行机构来克服不平衡力,但订货时必须与我公司联系,说明具体情况后方可订货。
七、充许压差:(表四)
|
供气压力(MPa) |
弹簧范围(MPa) |
公称通径(DN) |
G3/4’’ |
20 |
25 |
32 |
40 |
50 |
65 |
80 |
100 |
150 |
|||
|
阀座直径(DN |
3-8 |
10 |
12 |
15 |
20 |
26 |
32 |
40 |
50 |
65 |
80 |
100 |
150 |
||
|
0.14 |
20~100 |
允许压差 △P(MPa) |
1.6 |
0.8 |
0.5 |
0.5 |
0.3 |
0.25 |
0.2 |
0.12 |
0.08 |
||||
|
0.24 |
40~200 |
- |
1.2 |
1.1 |
0.7 |
0.65 |
0.45 |
0.28 |
0.20 |
||||||
注:流开流态,关闭时p2=0
八、主要零件材料:(表五)
|
零件名称 |
材料 |
零件名称 |
材料 |
|
阀体 |
ZG25衬F46(FEP) |
波纹管 |
F4(PTFE) |
|
阀芯 |
2Cr13衬F46(FEP) |
||
|
哈氏合金、蒙乃尔 |
填料 |
F4(PTFE) |
|
|
阀座 |
2Cr13衬F46(FEP) |
柔性石墨 |
|
|
哈氏合金、蒙乃尔 |
注:对含有杂质、颗粒的介质,阀芯、阀座可采用哈氏合金等。
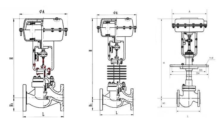
九、凯斯特阀门气动薄膜衬四氟单座调节阀外形尺寸:(表六)
|
公称通径 DN(㎜) |
3/4″ |
20 |
25 |
32 |
40 |
50 |
65 |
80 |
100 |
150 |
|
L |
116 |
180 |
185 |
200 |
220 |
250 |
275 |
300 |
350 |
480 |
|
A |
245 |
245 |
245 |
245 |
290 |
290 |
362 |
362 |
362 |
454 |
|
H |
401 |
445 |
485 |
495 |
523 |
532 |
697 |
699 |
699 |
817 |
|
H1 |
50 |
65 |
70 |
80 |
71 |
88 |
102 |
140 |
170 |
190 |
|
重量 |
17 |
17 |
19 |
21 |
28 |
31.5 |
54 |
64 |
80 |
120 |

注:法兰标准符合JB78-59、JB79-59标准.也可根据用ANSI美国标准等其它标准。
配套附件:
1.各种型号的阀门定位器,电气转换器,空气过滤减压器。
2.手轮机构。
3.电磁阀,接近开关。
十、型号编制说明:
|
Z |
J |
H |
P |
16 |
C |
G |
K |
|
自控阀门 |
执行机构: |
多弹簧气动薄膜执行机构 |
阀门结构类型: |
公称压力: |
阀体材质: |
温度类型: |
作用型式: |
|
- |
J:表示精小型 |
- |
P:表示单座 |
16:表示1.6MPa |
C:表示碳钢 |
G:中温型
常温省略 |
K:表示气开型 |
|
- |
- |
- |
N:表示双座 |
25:表示2.5MPa |
P:表示不锈钢 |
- |
B:表示气关型 |
|
- |
- |
- |
M:表示套筒阀 |
40:表示4.0MPa |
F46:表示阀体衬氟 |
- |
- |
|
- |
- |
- |
- |
64:表示6.4MPa |
- |
订货须知:
一、①气动薄膜衬四氟单座调节阀产品名称与型号②气动薄膜衬四氟单座调节阀口径③气动薄膜衬四氟单座调节阀是否带附件以便我们的为您正确选型。
二、若已经由设计单位选定凯斯特公司的气动薄膜衬四氟单座调节阀型号,请按气动薄膜衬四氟单座调节阀型号直接向我司销售部订购。
三、当使用的场合非常重要或环境比较复杂时,请您尽量提供设计图纸和详细参数,由我们的凯斯特阀门专家为您审核把关。
感谢您访问我们的网站【http://www.hbkst.cn】,如有任何疑问.您可以致电给我们,我们一定会尽心尽力为您提供优质的服务。